[导读]  简单介绍了筛分设备的基本情况,重点介绍了回转筛、摇动筛和振动筛的工作原理。
 中国粉体网讯  筛分是将粒度大小不同的物料按粒子的大小、比重、带电性以及磁性等粉体学性质进行分离的方法。筛分一般适用于较粗的物料(粒度大于0.05mm)的分级。在筛分过程中,大于筛孔尺寸的物料颗粒被留在筛面上,称为筛上料;小于筛孔尺寸的物料颗粒通过筛孔筛出,称为筛下料。 
  
 一 筛分设备的分类
· 按筛分方式
干式筛
 湿式筛
· 按筛面的运动特性
振动筛:包括旋摆运动筛、直线运动筛和圆振动筛  
 摇动筛:包括旋动筛和直线摇动筛
 回转筛:包括圆筒筛、圆锥筛、角柱筛和角锥筛
 固定筛:包括固定弧形筛、固定格筛和固定棒条筛
  
 二 筛分设备参数
· 筛面
筛面是筛分设备的基本组成部分,其上有许多形状和尺寸一定的筛孔。按筛面的结构形式可以分为:棒条筛面、板状筛面、编织筛面、波浪筛面和非金属筛面。
 
图1 四种不同的筛面
 
 不同种类的筛分设备,筛面的运动形式是不一样的,对筛分效率的影响也不一样。其中固定筛的筛面是固定不动的,所以筛分效率较低。而运动筛面的效率又与其运动形式有关。例如振动筛的筛面使物料在筛面上与筛孔的方向成一定的角度被振动,振动频率高,筛分效果好。筛面的二次振动可以提高筛分效率,防止筛孔堵塞,但同时也影响筛面的使用寿命。
  
 为了提高筛分设备的处理能力以及筛分效果,需要对筛分设备选择合适的长度和宽度。一般当筛分设备的各项生产条件相同时,筛分效率的高低主要取决于筛面的长度,筛面的宽度则影响生产效率的高低。
  
· 筛孔
 
 筛孔是指筛面上的孔眼。一般有圆孔、长形孔、方形孔、三角形孔、鱼鳞孔和其它孔形。其中圆形筛孔与其它形状筛孔相比较,在尺寸相同时,透过筛孔的产物粒度较小。而长形孔、方形孔的筛面有效面积较大,处理能力更高,处理高水分物料时可以较少发生筛面堵塞的现象。筛孔的形状有很多种,如何选择筛孔形状主要取决于筛分产品的用途。
  
 筛孔的尺寸越大,单位面积筛面物料处理得越多,处理能力越大,筛分效果越好。因为对于同一粒度级别的物料,筛孔增大相当于“易筛粒”增多。所以,一般在满足要求的情况下尽量选择大筛孔。
  
 三 几种筛分设备的工作原理介绍
  
 回转筛
  
 回转筛是由筛网或筛板制成的回转筒体、支架和传动装置等组成的。按筒形筛面的形状有圆筒筛、圆锥筛、多角筒筛(多为六角形)和多角锥筛四种。以六角形滚筒筛举例说明。
 
图2 六角形滚筒筛结构示意图
1-筛筒;2-底座;3-轴承;4-筛罩;5-加料斗;6-孔盖;7-吸尘管接口;8-减速机;9-电动机;10-弹性联轴器;11-浮动盘联轴器
  
 工作原理:物料在回转筒内由于摩擦作用而被提升至一定高度,然后因重力作用沿筛面向下滚动,随之又被提升,因此,物料在筒内的运动轨迹呈螺旋形。在不断的下滑翻滚转动过程中,细颗粒通过筛孔落入筛下,大于筛孔尺寸的筛上料则自筛筒的大端排出。
  
 摇动筛
 
图3 三种典型的摇动筛
 
 工作原理:摇动筛工作时,物料颗粒主要是作平行于筛面的运动。为了实现物料与筛面的相对滑动,一般用曲柄连杆机构传动。图3是单筛框摇动筛,它只有一个筛框,筛框上可设一层或两层筛网。图中(a)、(b)、(c)分别是用滚轮支承、吊杆悬挂和弹性支承。电动机通过皮带轮传动使偏心轴旋转,然后用连杆带动筛框作定向往复运动,筛框的运动方向应垂直于支杆式吊杆中心线。物料由筛面左端加入,细颗粒物料通过筛孔落至筛下,筛上物由筛面右端排出。筛面的安装角度视物料性质而异,一般为10°~20°。
  
 振动筛
  
 振动筛是目前各工业领域中应用最广泛的一种筛机。它与摇动筛最大的区别在于它的物面振动方向与筛面成一定的角度,而摇动筛的运动方向与筛面基本平行。振动筛大致分为几类:单轴惯性振动筛、双轴惯性振动筛、电磁振动筛和概率筛。以单轴惯性振动筛中的纯振动筛为例说明。
 
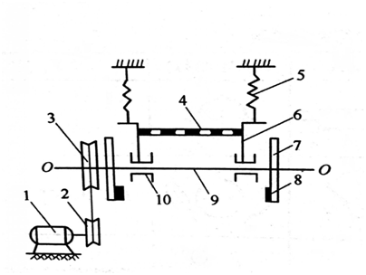
图4 单轴纯振动筛
1-电动机;2,3-皮带轮;4-筛网;5-悬吊弹簧;6-筛箱;7-飞轮;8-偏心重块;9-主轴;10-轴承座
  
 工作原理:电动机1通过皮带轮2和3使主轴9旋转,主轴安装在滚动轴承座10上,由于主轴旋转,固定在主轴上的飞轮7上装有偏心重块8,便产生惯性离心力,使筛箱产生振动。4、5分别为筛网和悬吊弹簧。物料从右上方加入,筛上料从筛面左端排出,筛框加料端和排料端作闭合椭圆运动,中间为圆运动。这种振动筛的缺点是:工作时皮带轮与筛箱一起振动,这样必然导致皮带轮反复伸缩,从而使皮带损坏,同时也使电动机主轴受力不良。
